
近日,在广州市王法拍卖市场上,迎来了一宗超等抢手,号称本年以来最抢手的房产拍卖,一间小小的老旧铺面被拍卖,确切眩惑几十个东谈主报名竞拍,最终溢价率超2000%。这是什么样的铺面,会如斯抢手呢?
这次广州市被拍卖的铺面位于广州市荔湾区康王路293号首层F03号商铺,是一间种植面积只消19.5325不异米的小铺面,铺面如故不规整的,三角状,免强可以用来卖一些小东西,作念餐饮是不太可粗略面积的了。现在是用来卖一些挂件障翳之类的小商品。


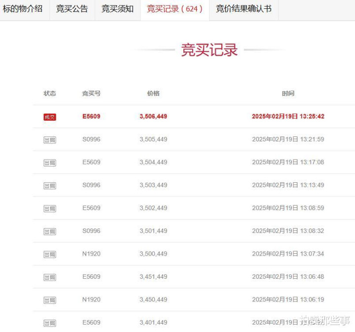
这间商铺面积小,评估价是19.6354万元,差未几即是1万元一平。这次拍卖,打七折进行拍卖,起拍价13.7449万元。不知谈是什么原因,拍卖启动后,确切眩惑了多达52东谈主报名竞拍。竞争比拟确信的浓烈多了,52个东谈主是荒诞涨价,价钱是一起飙升,很快就卓越了100万元、200万元了,还是远远比评估价高了,然而如故莫得终结拍卖的迹象,最终是历程3个多小时延时竞拍,624次涨价才终结,以惊东谈主的350.6449万元成交,成交价比起拍价足足最初了336.9万元,溢价率2451%,按照种植面积野心,成交单价达到了17.9518万元/不异米,这个单价甚而比广州市珠江新城部分一线江景豪宅价钱还高,而这仅仅一间小小的老旧铺面。


应该说,这次拍卖的这间小铺面,在广州市,位置如实可以,位于广州市荔湾区康王路293号,也即是华林国外的一间一楼铺面,这个所在,是广州市进军的珠宝玉石首饰等集聚地之一,是一个专科市集,然后斜对面又是大型购物中心荔湾广场;南方又是华林寺历史文化街区。再往南不远即是闻名的高下九走路街了。从地段来看,可谓是广州市寸土寸金的所在,属于广州市老城文化街区。

不外话说追想万博manbext体育官网娱乐网,这样小一间铺面,350.6449万元买下来,要是对出门租给别东谈主标的珠宝首饰交易,思要有年投资讲述率5%的房钱收益,那这间铺面一个月的房钱得接近1.5万元/月,专家说,这样小一间铺面,一个月能有这样高的房钱吗?